Pioneering ship designer Elomatic bets on CADMATIC Electrical

Leading Finnish engineering and consulting company gains efficiencies and streamlines workflows with CADMATIC Electrical
Elomatic, a Finnish engineering and consulting company with over five decades of experience in the marine and offshore industry, has been at the forefront of adopting innovative technologies to streamline complex design processes. Since 2019, Elomatic has harnessed the power of CADMATIC Electrical to enhance their ship design projects, ranging from massive cruise ships to robust tugboats.
Established in 1970, the company employs over 1300 professionals and in 2023 its turnover reached 123 million euros. Elomatic has 20 offices worldwide and customers in more than 80 countries.
“The customer support and service experience with CADMATIC Electrical have been really good”
Janne Sarjomaa
Project Manager
Cadmatic use in a nutshell
Customer challenge
- Interpret complex designs in large projects
- Maintain accurate and accessible data
Cadmatic solution
- Advanced database and electrical functions streamline workflows
- Integrated database features ensure consistency and ease of access

Driving efficiency through advanced software features
One of the key factors behind Elomatic’s sustained success in using CADMATIC Electrical is the software’s robust database capabilities and electrical functions. The inclusion of these features has optimized the way Elomatic manages and executes ship design projects by allowing more streamlined data handling and efficient design processes.
“Using CADMATIC Electrical has allowed us to streamline our design workflow. The database features simplify locating and managing information on large projects, and the ability to create and update reports like part lists or cable lists enhances our operational efficiency,” explains Elomatic Project Manager Janne Sarjomaa.
Specific benefits and project enhancements
Elomatic has benefited from CADMATIC Electrical’s ability to directly integrate area, deck, and frame information into components as they are inserted into designs. This integration ensures that critical data is consistently and automatically updated across the project database, enhancing both accuracy and accessibility for all project stakeholders.
Elomatic has also effectively utilized CADMATIC Electrical’s database to generate detailed reports and manage project data with ease, which has proven invaluable in large-scale and technically complex projects.
“With CADMATIC Electrical’s database and functions we can easily find out, for example, how much of a particular cable type has been used, check all documents, and locate a room and see what items it includes,” says Janne.

A recent project where Elomatic used CADMATIC Electrical is the basic and detail design of a TT-line ferry, the Spirit of Tasmania. The project deliverables from CADMATIC Electrical included layout and schematics drawings among others.
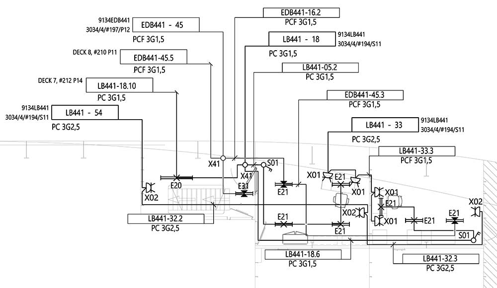
Layout drawings usually are equipment, socket, lighting arrangement drawings. These drawings are usually showing placement, cables, and other necessary details. They provide a comprehensive view of the physical arrangement of elements within a given space. This includes the precise location of equipment, the routing of cables and wires to their respective sockets, and the distribution of lighting fixtures for optimal illumination. These drawings are crucial during the installation process as they guide the technicians in setting up the systems accurately and efficiently. Furthermore, layout drawings can help in identifying potential issues such as space constraints or incompatible components, thus allowing for proactive problem-solving. The goal of these drawings is to ensure a smooth and successful implementation of the system onboard.

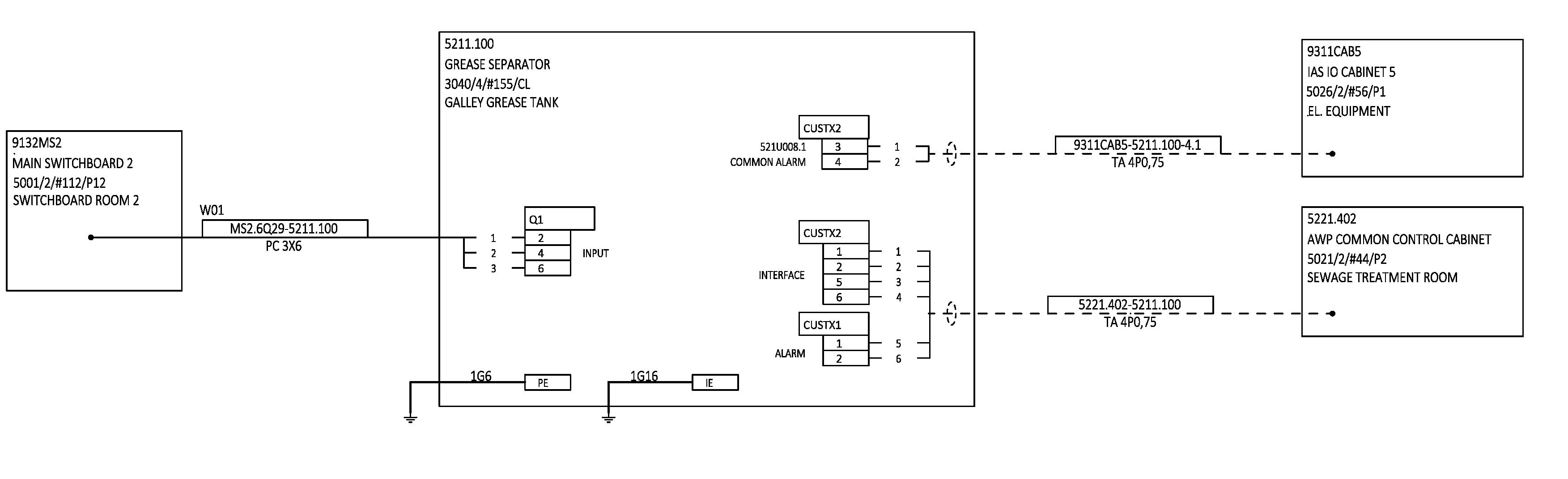
Schematic drawings typically represent the system itself, including all necessary connections, and showing the placement, cable types, terminals, etc. They provide all the information needed onboard to connect the cables and bring the system online.

Watch the video below to see how documents are interconnected in CADMATIC Electrical and how this enriches project data and improves design quality.
Seamless integration with other tools
Elomatic’s workflow also benefits from CADMATIC Electrical’s compatibility with other design tools, such as IFC for interoperability and integration with CADMATIC’s 3D outfitting solutions. This seamless integration supports a more cohesive and coordinated approach to ship design, linking various aspects of a project from initial concept to detailed design.
Elomatic’s experience with CADMATIC Electrical has been positive, prompting them to recommend the software to other professionals in ship design. The software’s continuous development, driven by active feedback and collaboration between Elomatic and CADMATIC, has led to significant improvements tailored to the specific needs of the marine sector.
“From the outset, our collaboration with CADMATIC has been integral to refining the software. They’ve been responsive to our feedback, helping us overcome initial challenges and significantly improving the tool to meet the unique demands of ship design,” notes Janne.
Customer support and ongoing partnership
The support and service provided by CADMATIC have been crucial aspects of Elomatic’s positive experience. Ongoing customer support and the joint effort to solve design challenges have solidified a strong partnership aimed at pushing the boundaries of marine engineering.